Skip to content

Definición

Barrera metálica simple para borde lateral con sistema de protección para motociclistas. Sistema compuesto por una barrera de doble onda, separador, faldón protector para motociclistas y postes tubulares distanciados 4 metros entre sí.

Parámetros de Comportamiento

Nivel de Contención N2 Anchura de Trabajo (W) W4 Clase de Severidad A Deflexión Dinámica (D) 1,2m
Nivel de Severidad  I 

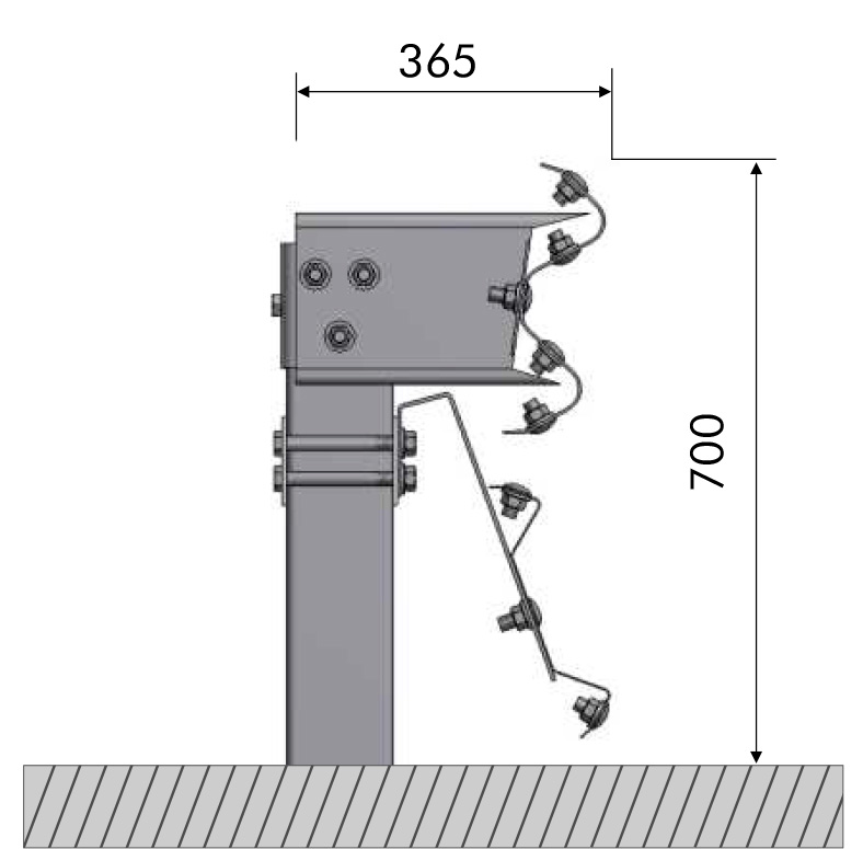
Perfil

Componentes para tramos de 4 metros

Ítem Elemento Uds
1   Barrera estándar de 4 m 1
2   Poste tubular de 120x55x3 de 1.500 mm 1
3   Conector para poste tubular 1
4   Separador estándar 1
5   Faldón protector para motociclistas, de 4 m 1
6   Anclaje 1
7   Soporte en “U” 1
8   Tornillo cabeza redonda M16x30, con tuerca 12
9   Tornillo cabeza redonda M16x40, con tuerca 2
10   Tornillo cabeza hexagonal M16x35, con tuerca 5
11   Tornillo cabeza hexagonal M16x150, con tuerca 2
12   Arandela Ø17x35x4 mm 21
13   Captafaro 0,5

Detalle de Tornillería

Volver arriba